■Evey little thing we ee is magic. 
WEBページで作るOscylinderscope
先日、The Reuben H. FleetScience Centerという科学館に遊びに行った。そこで面白いものをみかけた。それはOscylinderScopeという名前のもので、下の写真のようなものだった。
![]() |
Oscylinderscopeの作者のNorman TuckのWEBサイト
- A Catalog of Kinetic Sculpture byNorman Tuck
- ( http://www.normantuck.com/ )
- TheOscylinderScope
- ( http://www.normantuck.com/catalogPages/oscylinderScope.html)
電気的な変化する信号に合わせて、光の点をsweepさせることで波形を描き出すのがオシロスコープだが、このOscylinderScopeもドラムをい回転させて、ドラム上に描かれた白い線が振動するギターの弦の後ろをsweepして、ギターの弦の振動する様子を描き出すのである。
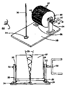
参考までにNorman TuckがOscylinderScopeに関して取得しているUnites StatesPatent 5,975,911から判りやすそうな図を下に示しておく。揺れる棒の様子がSin波状に見えている、という説明図である。
![]() | ![]() |
このOscylinderScopeにはとっても単純だけど素敵な科学的なアイデアと、展示物としてのセンスと、そして何故かちょっとうれしくなるようなバカバカしさが感じられて私はとっても大好きだ。そこで、一ファンとして私も「WEBページで作るOscylinderscope」というのをやってみることにした。
といっても、やることは単純に単なる速く移動する白い線をパソコン画面に映し出すだけである。そして、その前で何かを振動させてその振動の様子を可視化するのである。
まずは、Oscylinderscope風アニメーションGIFだ。おそらくInternetExplorerではゆっくりとしか再生されないと思うが、NetscapeCommunicatorであればプラットホームにもよるが高速に再生することができると思う。少なくとも、Linux上のNetscapeNavigatorではかなり速く再生されるハズだ。
![]() |
このアニメーションを再生できない環境の人のために、動画ファイル版にしたものもここにおいておく。
- oscylinderscope.avi ( 145kB )
このアニメーションGIFや動画ファイルを再生して、部屋の電気を暗くしてみる。すると、CRTの画面というのはとても明るいので、部屋を暗くしてCRTだけをつけておくと、CRT画面に映し出されている色に部屋が染まる。部屋がそんな風にチカチカした状態で、画面の前で何かを振動させると、アラ不思議その物体の振動の様子が何やら変な風に見えてくる。例えば、真っ直ぐな細い棒を「Oscylinderscope風AVIファイルの前で棒を揺らしてみたところ」である。写真では判りにくいと思うが、真っ直ぐな棒がウニョロウニョロと曲がって見えるだろう。とにかく、真っ直ぐな棒が振動する様子を静止したイメージで目にすることができるのだ。
![]() |
ところで、私はこんなOscylinderscopeを見ていると、ナポレオンズの「首グルグル・マジック」を連想してしまう。一カ所だけ穴の開いた筒を頭にかぶる。そして、穴の部分から顔を覗かせる。筒を回転させ始めると、なんと顔がずっと見え続ける、つまりエクソシストの少女のように首が回転しているのだ!これがマジックかぁ?と言う人も多いかもしれないが、私はこれこそ本当にmagicそのものだと思う。このマジックには、目に見えていない瞬間に起きていることは結局想像するしかない、という本当の真実と、何故かもう嬉しくなるくらいのバカバカししさが同居していて私は大好きなのだ。他の人はどう思うか知らないけれど。




